LUNA-3 COMFORT 1.310 проблема трехходового клапана
-
Andrey I
- Бывалый
- Сообщения: 62
- Зарегистрирован: 27 сен 2022, 23:44
- Откуда: Сосновый Бор
- Мой котел: BAXI LUNA-3 Comfort 1.310 Fi
- Благодарил (а): 27 раз
- Поблагодарили: 2 раза
LUNA-3 COMFORT 1.310 проблема трехходового клапана
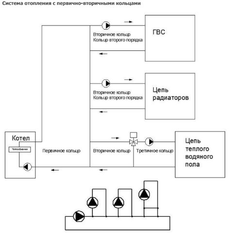
Имеем систему с первично/вторичными кольцами. 2 контура с 8 радиаторами на первом и втором этаже и тёплый пол на первом и немного на втором этаже. Бойлер косвенного нагрева на 200 литров. Схему прилагаю. Проблема: при работе котла только в режиме системы отопления (радиаторы и ВТП) в режиме котла без бойлера заметил что греется обратка из бойлера - то есть вода горячая из первичного кольца перетекает в обратку бойлера и идет в обратном направлении в котел. В таком режиме бойлер нагрелся с 27 до 36 градусов за 6 часов. Такой эффект наблюдается при установленной заводской заглушки и сервопривода трехходового клапана. Почему?
Последний раз редактировалось Andrey I 18 окт 2022, 23:32, всего редактировалось 1 раз.
BAXI LUNA-3 COMFORT 1.310 Fi
-
Bahus
- Главный администратор

- Сообщения: 12969
- Зарегистрирован: 24 июл 2012, 13:05
- Откуда: Пенза
- Мой котел: Пензенская ТЭЦ-1
- Благодарил (а): 82 раза
- Поблагодарили: 1683 раза
- Возраст: 45
LUNA-3 COMFORT 1.310 проблема трехходового клапана
Мне схема не понравилась. Не то, чтобы вот прям решительно, но некоторые моменты вполне спорные. Но это так, лирика.
Попробуйте выключить насос на радиаторы (левый). Котловой вполне справиться должен. Проверьте изменения по вашей проблеме.
Попробуйте выключить насос на радиаторы (левый). Котловой вполне справиться должен. Проверьте изменения по вашей проблеме.
В ЛС отвечаю только по работе форума
Илья Бахталин
АСЦ BAXI "Санфорт". г. Пенза
Подключение к Зонту - bahus1980
Илья Бахталин
АСЦ BAXI "Санфорт". г. Пенза
Подключение к Зонту - bahus1980
-
Andrey I
- Бывалый
- Сообщения: 62
- Зарегистрирован: 27 сен 2022, 23:44
- Откуда: Сосновый Бор
- Мой котел: BAXI LUNA-3 Comfort 1.310 Fi
- Благодарил (а): 27 раз
- Поблагодарили: 2 раза
LUNA-3 COMFORT 1.310 проблема трехходового клапана
Пробовал отключить оба насоса - все тоже самое, проблема остаётся!
Покритикуйте схему
Покритикуйте схему
BAXI LUNA-3 COMFORT 1.310 Fi
-
Bahus
- Главный администратор

- Сообщения: 12969
- Зарегистрирован: 24 июл 2012, 13:05
- Откуда: Пенза
- Мой котел: Пензенская ТЭЦ-1
- Благодарил (а): 82 раза
- Поблагодарили: 1683 раза
- Возраст: 45
LUNA-3 COMFORT 1.310 проблема трехходового клапана
Если насосы на поток влияния не оказывают - значит трёхходовой не до конца закрывается. Доставать чистить-менять тарелки. Давно котел работает-то?
Отправлено спустя 4 минуты 32 секунды:
Когда котёл переключается на нагрев бочки - насос откуда тянет? Из тупика? Так он загнётся быстренько. А если осилит пружину трёххода, так половина тепла при нагреве ГВС пойдёт в СО. Какой вообще сакральный смысл данного насоса - не понимаю.
Отправлено спустя 4 минуты 32 секунды:
Ну вот самое очевидное - насос первого этажа.
Когда котёл переключается на нагрев бочки - насос откуда тянет? Из тупика? Так он загнётся быстренько. А если осилит пружину трёххода, так половина тепла при нагреве ГВС пойдёт в СО. Какой вообще сакральный смысл данного насоса - не понимаю.
В ЛС отвечаю только по работе форума
Илья Бахталин
АСЦ BAXI "Санфорт". г. Пенза
Подключение к Зонту - bahus1980
Илья Бахталин
АСЦ BAXI "Санфорт". г. Пенза
Подключение к Зонту - bahus1980
-
Andrey I
- Бывалый
- Сообщения: 62
- Зарегистрирован: 27 сен 2022, 23:44
- Откуда: Сосновый Бор
- Мой котел: BAXI LUNA-3 Comfort 1.310 Fi
- Благодарил (а): 27 раз
- Поблагодарили: 2 раза
LUNA-3 COMFORT 1.310 проблема трехходового клапана
Bahus, котел новый, систему запустили месяц назад и сразу было замечено что вода идет в обратку бойлера. Котел с февраля стоял в квартире, ждал монтажа.
Трехходовой разбирали: достали затвор ГВС - понажимали, посмотрели, резинка целая - криминала не заметили. Разве он может пропускать даже с установленной штатной заглушкой на ГВС?
По насосу: на сколько я понимаю когда работает котел на ГВС вода циркулирует только по своему вторичному кольцу. Могу ошибаться конечно - уточню у монтажников. Но я насколько понимаю это обычная схема первично/вторичных колец где первым устанавливают высокотемпературный контур, в моем случае это радиаторы.
Трехходовой разбирали: достали затвор ГВС - понажимали, посмотрели, резинка целая - криминала не заметили. Разве он может пропускать даже с установленной штатной заглушкой на ГВС?
По насосу: на сколько я понимаю когда работает котел на ГВС вода циркулирует только по своему вторичному кольцу. Могу ошибаться конечно - уточню у монтажников. Но я насколько понимаю это обычная схема первично/вторичных колец где первым устанавливают высокотемпературный контур, в моем случае это радиаторы.
BAXI LUNA-3 COMFORT 1.310 Fi
-
Bahus
- Главный администратор

- Сообщения: 12969
- Зарегистрирован: 24 июл 2012, 13:05
- Откуда: Пенза
- Мой котел: Пензенская ТЭЦ-1
- Благодарил (а): 82 раза
- Поблагодарили: 1683 раза
- Возраст: 45
LUNA-3 COMFORT 1.310 проблема трехходового клапана
По идее не должен. Тем не менее на заводе патрубок глушатAndrey I писал(а): 30 сен 2022, 12:05 Разве он может пропускать даже с установленной штатной заглушкой на ГВС?
Нет у вас первично-вторичных колец ибо отсутствует гидравлический разделитель (гидрострелка). И получается что в режиме отопления у вас работают 2 насоса последовательно (что неправильно). Они, как минимум, мешают друг другу. К насосу ТП вопросов нет, там свой контур ибо смесительный узел стоит.
Вот и смотрите что получается. При работе на отопление у вас все тарелки трёххода полностью нажаты (вниз штоком мотора). Весь поток идёт через 2 последовательных насоса в СО. А что получается при работе на ГВС? Сервомотор полностью отпускает тарелки трёххода наверх. Тем самым закрывается патрубок системы отопления (левый на подаче) и открывается патрубок загрузки бойлера (правый на подаче). Что происходит с внешним насосом СО? Правильно, он продолжает молотить. Но подача-то закрыта. Более того, он силится вытянуть, всё что можно, чуть-чуть опускает нижнюю тарелку треххода, тем самым создаёт расход в системе отопления. И какие тут потоки где возникают - вот это вопрос.
Всё вышесказанное не относится к вашей проблеме, хотя может связь какая и есть.
В ЛС отвечаю только по работе форума
Илья Бахталин
АСЦ BAXI "Санфорт". г. Пенза
Подключение к Зонту - bahus1980
Илья Бахталин
АСЦ BAXI "Санфорт". г. Пенза
Подключение к Зонту - bahus1980
-
Andrey I
- Бывалый
- Сообщения: 62
- Зарегистрирован: 27 сен 2022, 23:44
- Откуда: Сосновый Бор
- Мой котел: BAXI LUNA-3 Comfort 1.310 Fi
- Благодарил (а): 27 раз
- Поблагодарили: 2 раза
LUNA-3 COMFORT 1.310 проблема трехходового клапана
Bahus,
Ну про гидравлическую схему ничего сказать не могу, так как нет соответствующей компетенции))) простите!)
Но точно знаю (проверил), что при работе на ГВС никаких проблем и перетеканий из СО не выявлено! И по моим ощущениям насос радиаторов работает по своему кольцу.
Но вопрос как раз то не в этом направлении когда работает ГВС, а когда работает кольцо СО.
Повторюсь, что это у меня наблюдается и при отклбченных обоих насосах радиаторов и ВТП.
Как я рассуждаю))): если есть проток в обратку бойлера, значит вода проходит каким то расходом через трехходовой (что на мой взгляд маловероятно, так как поток как раз давит на затвор сверху) или через автоматический байпас (продавливая там обратный клапан). Все, больше путей следования воды нет. Дак вот вопрос, норма это или нет? Или все таки это какой то дефект трехходового или автоматического байпаса?
Спасибо за ваши комментарии и рекомендации!)
Ну про гидравлическую схему ничего сказать не могу, так как нет соответствующей компетенции))) простите!)
Но точно знаю (проверил), что при работе на ГВС никаких проблем и перетеканий из СО не выявлено! И по моим ощущениям насос радиаторов работает по своему кольцу.
Но вопрос как раз то не в этом направлении когда работает ГВС, а когда работает кольцо СО.
Повторюсь, что это у меня наблюдается и при отклбченных обоих насосах радиаторов и ВТП.
Как я рассуждаю))): если есть проток в обратку бойлера, значит вода проходит каким то расходом через трехходовой (что на мой взгляд маловероятно, так как поток как раз давит на затвор сверху) или через автоматический байпас (продавливая там обратный клапан). Все, больше путей следования воды нет. Дак вот вопрос, норма это или нет? Или все таки это какой то дефект трехходового или автоматического байпаса?
Спасибо за ваши комментарии и рекомендации!)
BAXI LUNA-3 COMFORT 1.310 Fi
-
Starik
- Местный аксакал
- Сообщения: 7434
- Зарегистрирован: 27 ноя 2015, 22:41
- Откуда: Краснодарский край
- Мой котел: BAXI MAIN 5 14f
- Благодарил (а): 73 раза
- Поблагодарили: 819 раз
- Возраст: 59
LUNA-3 COMFORT 1.310 проблема трехходового клапана
Andrey I писал(а): 01 окт 2022, 09:54Или все таки это какой то дефект трехходового или автоматического байпаса?
Как можно делать петлю под котлом, натыкать туда трубы подачи рядом с обраткой (в одну и ту же трубу)? Как оно вообще может работать!
Кто такую супер оригинальную конструкцию придумал? Жуть полная.
-
Andrey I
- Бывалый
- Сообщения: 62
- Зарегистрирован: 27 сен 2022, 23:44
- Откуда: Сосновый Бор
- Мой котел: BAXI LUNA-3 Comfort 1.310 Fi
- Благодарил (а): 27 раз
- Поблагодарили: 2 раза
LUNA-3 COMFORT 1.310 проблема трехходового клапана
Starik,
Это стандартная схема системы отопления с первично-вторичными кольцами. Радиаторы и ВТП отлично работают и прогреваются.
Бойлер подключен согласно инструкции - обратка бойлера в обратку СО (первичное кольцо) врезана.
Повторюсь, даже при отключенных насосах радиаторов и ВТП с первичного кольца продавливает в обратку бойлера!
Это стандартная схема системы отопления с первично-вторичными кольцами. Радиаторы и ВТП отлично работают и прогреваются.
Бойлер подключен согласно инструкции - обратка бойлера в обратку СО (первичное кольцо) врезана.
Повторюсь, даже при отключенных насосах радиаторов и ВТП с первичного кольца продавливает в обратку бойлера!
BAXI LUNA-3 COMFORT 1.310 Fi
-
Starik
- Местный аксакал
- Сообщения: 7434
- Зарегистрирован: 27 ноя 2015, 22:41
- Откуда: Краснодарский край
- Мой котел: BAXI MAIN 5 14f
- Благодарил (а): 73 раза
- Поблагодарили: 819 раз
- Возраст: 59
LUNA-3 COMFORT 1.310 проблема трехходового клапана
Andrey I писал(а): 01 окт 2022, 15:20Это стандартная схема системы отопления с первично-вторичными кольцами.
В каком посте правда?Andrey I писал(а): 01 окт 2022, 09:54Ну про гидравлическую схему ничего сказать не могу, так как нет соответствующей компетенции))) простите!)
В принципе, продолжай заблуждаться, особенно на счет "стандартной схемы", в которой ты явно чего-то проглядел.
Но виноват - котел, как обычно.
-
Bahus
- Главный администратор

- Сообщения: 12969
- Зарегистрирован: 24 июл 2012, 13:05
- Откуда: Пенза
- Мой котел: Пензенская ТЭЦ-1
- Благодарил (а): 82 раза
- Поблагодарили: 1683 раза
- Возраст: 45
LUNA-3 COMFORT 1.310 проблема трехходового клапана
Кстати да. На этот момент я вообще внимания не обратил. А чего подача из котла сразу в обратку идёт? И как ваша система коррелирует с приведённой из инструкции?. Тогда вообще всё по другому. Но даже думать боюсь как оно там всё движется.
В ЛС отвечаю только по работе форума
Илья Бахталин
АСЦ BAXI "Санфорт". г. Пенза
Подключение к Зонту - bahus1980
Илья Бахталин
АСЦ BAXI "Санфорт". г. Пенза
Подключение к Зонту - bahus1980
-
Andrey I
- Бывалый
- Сообщения: 62
- Зарегистрирован: 27 сен 2022, 23:44
- Откуда: Сосновый Бор
- Мой котел: BAXI LUNA-3 Comfort 1.310 Fi
- Благодарил (а): 27 раз
- Поблагодарили: 2 раза
LUNA-3 COMFORT 1.310 проблема трехходового клапана
Bahus,
https://pulse.mail.ru/article/gidrostre ... g130587530
Я конечно допускаю, что данная схема не самая популярная, но это ни какая-то выдумка… в интернете очень много примеров исполнения таких схем с первично-вторичными кольцами.
https://pulse.mail.ru/article/gidrostre ... g130587530
Я конечно допускаю, что данная схема не самая популярная, но это ни какая-то выдумка… в интернете очень много примеров исполнения таких схем с первично-вторичными кольцами.
BAXI LUNA-3 COMFORT 1.310 Fi
-
Starik
- Местный аксакал
- Сообщения: 7434
- Зарегистрирован: 27 ноя 2015, 22:41
- Откуда: Краснодарский край
- Мой котел: BAXI MAIN 5 14f
- Благодарил (а): 73 раза
- Поблагодарили: 819 раз
- Возраст: 59
LUNA-3 COMFORT 1.310 проблема трехходового клапана
Вот тебе нормальная схемка: Намекну.
Инструкция для стандартной схемы отопления.
-
Andrey I
- Бывалый
- Сообщения: 62
- Зарегистрирован: 27 сен 2022, 23:44
- Откуда: Сосновый Бор
- Мой котел: BAXI LUNA-3 Comfort 1.310 Fi
- Благодарил (а): 27 раз
- Поблагодарили: 2 раза
LUNA-3 COMFORT 1.310 проблема трехходового клапана
Starik,
Хоть этот форум и не является викториной или передачей ЧТО?ГДЕ?КОГДА? и я не являюсь экспертом в этой области, все таки попытаюсь ответить:
1. Если ГВС в схеме это БКН, то он подключен первым на первичное кольцо, нет трехходового клапана который есть на котле для БКН
2. Вторая схема мало информативна, нет котла и видно только дополнительный насос на первичном кольце.
И все таки, учитывая что этот форум (как я думаю) создан так же и для обмена опытом эксплуатации, ремонта, тех обслуживания, совершенствования конструкции оборудования BAXI, могли бы Вы дать рекомендации, пояснить…
Спасибо
Хоть этот форум и не является викториной или передачей ЧТО?ГДЕ?КОГДА? и я не являюсь экспертом в этой области, все таки попытаюсь ответить:
1. Если ГВС в схеме это БКН, то он подключен первым на первичное кольцо, нет трехходового клапана который есть на котле для БКН
2. Вторая схема мало информативна, нет котла и видно только дополнительный насос на первичном кольце.
И все таки, учитывая что этот форум (как я думаю) создан так же и для обмена опытом эксплуатации, ремонта, тех обслуживания, совершенствования конструкции оборудования BAXI, могли бы Вы дать рекомендации, пояснить…
Спасибо
BAXI LUNA-3 COMFORT 1.310 Fi
-
Starik
- Местный аксакал
- Сообщения: 7434
- Зарегистрирован: 27 ноя 2015, 22:41
- Откуда: Краснодарский край
- Мой котел: BAXI MAIN 5 14f
- Благодарил (а): 73 раза
- Поблагодарили: 819 раз
- Возраст: 59
LUNA-3 COMFORT 1.310 проблема трехходового клапана
Видишь, это ж не сложно и экспертом быть не нужно.Andrey I писал(а): 03 окт 2022, 14:261. Если ГВС в схеме это БКН, то он подключен первым на первичное кольцо, нет трехходового клапана который есть на котле для БКН
Попытаюсь.
Поясняю: если правильно подключить всё по схеме "колец" (т.е. никаких трехходов!), то бойлер будет нагреваться только до температуры системы отопления, а ты ж там уже уличный датчик замутил или термостат, не помню...
Относительно рекомендаций... их больше чем одна, но всё сведется к необходимости переделать этот кошмар для котла и ГВС. Вопрос в объёме переделки и затратах.
Не вдаваясь в пространные рассуждения, когда котел работает на бойлер, система отопления должна быть отключена и это должны быть совершенно независимые (гидравлически) "кольца". Только при таком условии система ГВС (датчик бойлера и трехход котла) будет работать правильно, не зависимо от времени года и потребности в отоплении.
-
Andrey I
- Бывалый
- Сообщения: 62
- Зарегистрирован: 27 сен 2022, 23:44
- Откуда: Сосновый Бор
- Мой котел: BAXI LUNA-3 Comfort 1.310 Fi
- Благодарил (а): 27 раз
- Поблагодарили: 2 раза
LUNA-3 COMFORT 1.310 проблема трехходового клапана
Starik,
Нет, датчики никакие не ставил и пока не планирую. Просто выносную панель снял с котла и установил на стене, что бы настроить работу котла по температуре в помещении.
Летом конечно отопление не планировал включать, то есть бойлер должен прогреваться независимо. Да и зачем этот огород если в котле предусмотрен для этого трехходовой для ГВС. Вы написали выше что нужно установить обратный клапан. Я так понимаю обратный клапан и решит проблему с перетоком воды в БКН, верно?
Нет, датчики никакие не ставил и пока не планирую. Просто выносную панель снял с котла и установил на стене, что бы настроить работу котла по температуре в помещении.
Летом конечно отопление не планировал включать, то есть бойлер должен прогреваться независимо. Да и зачем этот огород если в котле предусмотрен для этого трехходовой для ГВС. Вы написали выше что нужно установить обратный клапан. Я так понимаю обратный клапан и решит проблему с перетоком воды в БКН, верно?
BAXI LUNA-3 COMFORT 1.310 Fi
-
Starik
- Местный аксакал
- Сообщения: 7434
- Зарегистрирован: 27 ноя 2015, 22:41
- Откуда: Краснодарский край
- Мой котел: BAXI MAIN 5 14f
- Благодарил (а): 73 раза
- Поблагодарили: 819 раз
- Возраст: 59
LUNA-3 COMFORT 1.310 проблема трехходового клапана
Погоди, объясни-ка снова вот это твоё предложение (ниже), а то я потерял смысл беседы.Andrey I писал(а): 08 окт 2022, 15:57Я так понимаю обратный клапан и решит проблему с перетоком воды в БКН, верно?
Как это понимать?Andrey I писал(а): 29 сен 2022, 07:01... в режиме котла без бойлера ... греется обратка ... Такой эффект наблюдается при установленной заводской заглушки и сервопривода трехходового клапана.
-
Andrey I
- Бывалый
- Сообщения: 62
- Зарегистрирован: 27 сен 2022, 23:44
- Откуда: Сосновый Бор
- Мой котел: BAXI LUNA-3 Comfort 1.310 Fi
- Благодарил (а): 27 раз
- Поблагодарили: 2 раза
LUNA-3 COMFORT 1.310 проблема трехходового клапана
Starik,
Я тут имел ввиду то что, в режиме работы котла только на систему отопления (без ГВС. Т.е. на дисплее котла горит индикатор «радиатор» и не горит индикатор «кран») горячая вода из первичного кольца перетекает в обратную трубу из бойлера, которая врезана в первичное кольцо.
Это перетекание горячей воды наблюдается и тогда когда стоит сервопривод на трехходовом и если вместо сервопривода стоит штатная заглушка (пробка) на трехходовом . Заглушка давит на шток трехходового, перекрывая поток на ГВС. Я так понимаю, что эту заглушку оставляют на месте в случае когда не ставят БКН. Тем самым я для себя исключил дефект сервопривода-думал может шток не до конца выходит.
По косвенным признакам, похоже что вода попадая в обратку бойлера движется дальше все таки через автоматический байпас, продавливая там обратный клапан.
Выше, в самом начале темы, Вы рекомендовали установить обратный клапан.
Я тут имел ввиду то что, в режиме работы котла только на систему отопления (без ГВС. Т.е. на дисплее котла горит индикатор «радиатор» и не горит индикатор «кран») горячая вода из первичного кольца перетекает в обратную трубу из бойлера, которая врезана в первичное кольцо.
Это перетекание горячей воды наблюдается и тогда когда стоит сервопривод на трехходовом и если вместо сервопривода стоит штатная заглушка (пробка) на трехходовом . Заглушка давит на шток трехходового, перекрывая поток на ГВС. Я так понимаю, что эту заглушку оставляют на месте в случае когда не ставят БКН. Тем самым я для себя исключил дефект сервопривода-думал может шток не до конца выходит.
По косвенным признакам, похоже что вода попадая в обратку бойлера движется дальше все таки через автоматический байпас, продавливая там обратный клапан.
Выше, в самом начале темы, Вы рекомендовали установить обратный клапан.
BAXI LUNA-3 COMFORT 1.310 Fi
-
Starik
- Местный аксакал
- Сообщения: 7434
- Зарегистрирован: 27 ноя 2015, 22:41
- Откуда: Краснодарский край
- Мой котел: BAXI MAIN 5 14f
- Благодарил (а): 73 раза
- Поблагодарили: 819 раз
- Возраст: 59
LUNA-3 COMFORT 1.310 проблема трехходового клапана
Похоже на то.Andrey I писал(а): 08 окт 2022, 21:59По косвенным признакам, похоже что вода, попадая в обратку бойлера, движется дальше все таки через автоматический байпас, продавливая там обратный клапан.
Обратный клапан на обратке бойлера не поможет.
Вообще не понимаю, для чего надо было городить такой огород (делать малюсенькое колечко под котлом), если можно было установить коллектор (в котором обратка и подача разделены). Если дорого, то можно было сделать "гребенку" подачи и такую же обратки (разместить друг за другом), т.е. развести потоки. Места там достаточно, добавить уголки на подачу или обратку (по желанию) и трубу сзади смонтировать, разорвав это кольцо.
Если нет желания "убить" котел, то есть смысл сделать нормальную (классическую) систему отопления, имхо.
==================================================
Тема изначально не правильное название имеет, проблема не в трехходовом клапане, а в системе отопления (как водится).
-
Andrey I
- Бывалый
- Сообщения: 62
- Зарегистрирован: 27 сен 2022, 23:44
- Откуда: Сосновый Бор
- Мой котел: BAXI LUNA-3 Comfort 1.310 Fi
- Благодарил (а): 27 раз
- Поблагодарили: 2 раза
LUNA-3 COMFORT 1.310 проблема трехходового клапана
Starik,
Спасибо за Ваше экспертное мнение
И все же, почему обратник не поможет? Как я понимаю он как раз не даст воде из первичного кольца попасть в обратку бойлера. Или не так?
И еще вопрос позвольте. Если все же оставить систему в том состоянии как есть, как она (схема эта с кольцами) может «убить» котел?
Спасибо за ответы
Спасибо за Ваше экспертное мнение
И все же, почему обратник не поможет? Как я понимаю он как раз не даст воде из первичного кольца попасть в обратку бойлера. Или не так?
И еще вопрос позвольте. Если все же оставить систему в том состоянии как есть, как она (схема эта с кольцами) может «убить» котел?
Спасибо за ответы
BAXI LUNA-3 COMFORT 1.310 Fi
-
Starik
- Местный аксакал
- Сообщения: 7434
- Зарегистрирован: 27 ноя 2015, 22:41
- Откуда: Краснодарский край
- Мой котел: BAXI MAIN 5 14f
- Благодарил (а): 73 раза
- Поблагодарили: 819 раз
- Возраст: 59
LUNA-3 COMFORT 1.310 проблема трехходового клапана
Сам потом расскажешь, наверное.Andrey I писал(а): 09 окт 2022, 14:57Если все же оставить систему в том состоянии как есть, как она (схема эта с кольцами) может «убить» котел?
-
Andrey I
- Бывалый
- Сообщения: 62
- Зарегистрирован: 27 сен 2022, 23:44
- Откуда: Сосновый Бор
- Мой котел: BAXI LUNA-3 Comfort 1.310 Fi
- Благодарил (а): 27 раз
- Поблагодарили: 2 раза
LUNA-3 COMFORT 1.310 проблема трехходового клапана
Starik,
Вопрос еще позвольте!
Все таки куда нужно заводить обратку из БКН: в специальный штуцер ГВС (второй справа) или через тройник в обратку системы отопления?
Спасибо
Вопрос еще позвольте!
Все таки куда нужно заводить обратку из БКН: в специальный штуцер ГВС (второй справа) или через тройник в обратку системы отопления?
Спасибо
BAXI LUNA-3 COMFORT 1.310 Fi
-
Bahus
- Главный администратор

- Сообщения: 12969
- Зарегистрирован: 24 июл 2012, 13:05
- Откуда: Пенза
- Мой котел: Пензенская ТЭЦ-1
- Благодарил (а): 82 раза
- Поблагодарили: 1683 раза
- Возраст: 45
LUNA-3 COMFORT 1.310 проблема трехходового клапана
"Специальный штуцер второй справа" предназначен для подвода холодной воды. Подпитка системы отопления, другими словами. Воткнуть-то можно и туда, но там на перемычке сечение никакое для такого расхода.
В инструкции четко нарисовано в обратку через тройник.
Отправлено спустя 2 минуты 35 секунд:

Дофига через такое продавит?
В инструкции четко нарисовано в обратку через тройник.
Отправлено спустя 2 минуты 35 секунд:
Дофига через такое продавит?
В ЛС отвечаю только по работе форума
Илья Бахталин
АСЦ BAXI "Санфорт". г. Пенза
Подключение к Зонту - bahus1980
Илья Бахталин
АСЦ BAXI "Санфорт". г. Пенза
Подключение к Зонту - bahus1980
-
Andrey I
- Бывалый
- Сообщения: 62
- Зарегистрирован: 27 сен 2022, 23:44
- Откуда: Сосновый Бор
- Мой котел: BAXI LUNA-3 Comfort 1.310 Fi
- Благодарил (а): 27 раз
- Поблагодарили: 2 раза
LUNA-3 COMFORT 1.310 проблема трехходового клапана
Bahus, теперь понятно для чего этот ввод, большое спасибо за пояснения. Схему в инструкции видел. Просто немного смутило назначение этого ввода - вход холодной воды в котел
BAXI LUNA-3 COMFORT 1.310 Fi
-
Starik
- Местный аксакал
- Сообщения: 7434
- Зарегистрирован: 27 ноя 2015, 22:41
- Откуда: Краснодарский край
- Мой котел: BAXI MAIN 5 14f
- Благодарил (а): 73 раза
- Поблагодарили: 819 раз
- Возраст: 59
-
Andrey I
- Бывалый
- Сообщения: 62
- Зарегистрирован: 27 сен 2022, 23:44
- Откуда: Сосновый Бор
- Мой котел: BAXI LUNA-3 Comfort 1.310 Fi
- Благодарил (а): 27 раз
- Поблагодарили: 2 раза
LUNA-3 COMFORT 1.310 проблема трехходового клапана
Starik,
От трехходового крана и выхода на ГВС, встроенного в котел. На кран установлен сервопривод
От трехходового крана и выхода на ГВС, встроенного в котел. На кран установлен сервопривод
BAXI LUNA-3 COMFORT 1.310 Fi
-
Starik
- Местный аксакал
- Сообщения: 7434
- Зарегистрирован: 27 ноя 2015, 22:41
- Откуда: Краснодарский край
- Мой котел: BAXI MAIN 5 14f
- Благодарил (а): 73 раза
- Поблагодарили: 819 раз
- Возраст: 59
LUNA-3 COMFORT 1.310 проблема трехходового клапана
Пока не разведешь подачу и обратку (не уберешь из под котла тот кошмар), ничего путного не получится, имхо.
Но ты продолжай экспериментировать, в зиму оно самое - то.
Но ты продолжай экспериментировать, в зиму оно самое - то.
-
Andrey I
- Бывалый
- Сообщения: 62
- Зарегистрирован: 27 сен 2022, 23:44
- Откуда: Сосновый Бор
- Мой котел: BAXI LUNA-3 Comfort 1.310 Fi
- Благодарил (а): 27 раз
- Поблагодарили: 2 раза
LUNA-3 COMFORT 1.310 проблема трехходового клапана
Starik,
При всем моем уважении к Вам:
1. Проектировал и монтировал эту СО не я. Все делал специалист
2. В инструкции к котлу BAXI нет ни слова о том, что нельзя монтировать котел в СО с первично-вторичными кольцами!
3. В социальных сетях огромное множество примеров выполненных проектов, аналогичных моему с первично-вторичными кольцами
4. Система у меня работает: радиаторы прогреваются и ВТП тоже работает, о чем свидетельствуют установленные термометры. За исключением только перетока воды в обратку бойлера, что собственно по мнению специалиста можно исключить установкой обратного клапана, например на подаче ГВС. В инструкции котла не указаны характеристики обратного клапана автоматического байпаса - усилие пружины, давление или скорость потока или напор или расход, при которых создаются условия для его продавливания. Если конечно дело в нем, а не в самом штоке трехходового. Кстати еще наблюдение: при работе котла на ГВС часть воды идет по этому байпасу! Нормально это? Должно быть так? Если да, может и нормально то что через обратку бойлера его продавливает?
5. Вы не ответили на мои вопросы в сообщении номер 21
6. Что бы, что то изменить мне нужны железные аргументы, обосновывающие неверно выбранную схему!
Заранее благодарен
При всем моем уважении к Вам:
1. Проектировал и монтировал эту СО не я. Все делал специалист
2. В инструкции к котлу BAXI нет ни слова о том, что нельзя монтировать котел в СО с первично-вторичными кольцами!
3. В социальных сетях огромное множество примеров выполненных проектов, аналогичных моему с первично-вторичными кольцами
4. Система у меня работает: радиаторы прогреваются и ВТП тоже работает, о чем свидетельствуют установленные термометры. За исключением только перетока воды в обратку бойлера, что собственно по мнению специалиста можно исключить установкой обратного клапана, например на подаче ГВС. В инструкции котла не указаны характеристики обратного клапана автоматического байпаса - усилие пружины, давление или скорость потока или напор или расход, при которых создаются условия для его продавливания. Если конечно дело в нем, а не в самом штоке трехходового. Кстати еще наблюдение: при работе котла на ГВС часть воды идет по этому байпасу! Нормально это? Должно быть так? Если да, может и нормально то что через обратку бойлера его продавливает?
5. Вы не ответили на мои вопросы в сообщении номер 21
6. Что бы, что то изменить мне нужны железные аргументы, обосновывающие неверно выбранную схему!
Заранее благодарен
BAXI LUNA-3 COMFORT 1.310 Fi
-
Starik
- Местный аксакал
- Сообщения: 7434
- Зарегистрирован: 27 ноя 2015, 22:41
- Откуда: Краснодарский край
- Мой котел: BAXI MAIN 5 14f
- Благодарил (а): 73 раза
- Поблагодарили: 819 раз
- Возраст: 59
LUNA-3 COMFORT 1.310 проблема трехходового клапана
На все "наблюдения" - нет!
Срабатывание байпаса в котле - это аварийный режим. Теперь ответ на сообщение № 21 получен, не?
Ты же не в проектную организацию обращаешься, что бы такие условия диктовать.Andrey I писал(а): 18 окт 2022, 23:236. Что бы, что то изменить мне нужны железные аргументы, обосновывающие неверно выбранную схему!
В принципе, если не желаешь понимать очевидных вещей - не надо, настаивать не буду.
П.с. Не удержусь от комментария.
Но с очень низкой квалификацией.
-
- Похожие темы
- Ответы
- Просмотры
- Последнее сообщение
-
- 4 Ответы
- 273 Просмотры
-
Последнее сообщение Architectorus
-
- 2 Ответы
- 325 Просмотры
-
Последнее сообщение ya_garik
-
- 7 Ответы
- 574 Просмотры
-
Последнее сообщение Ilgiz
-
- 1 Ответы
- 314 Просмотры
-
Последнее сообщение Bahus
-
- 43 Ответы
- 1625 Просмотры
-
Последнее сообщение Xrust
Кто сейчас на конференции
Сейчас этот форум просматривают: нет зарегистрированных пользователей и 11 гостей